
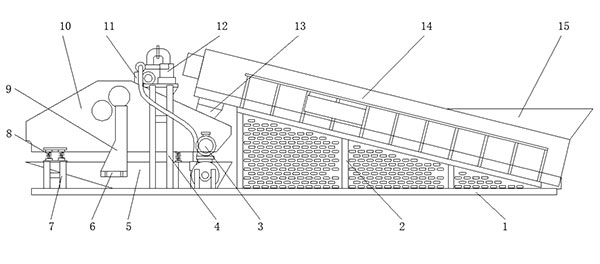
螺旋洗砂機適用于冶金、建材、水電等行業的洗選、分級、除雜等作業,用于細粒度和粗粒度物料的洗選作業,對建筑用河沙、山沙以及石料場的石粉以及筑路用機制砂石猶為適宜,主要用于建筑工地、砂石廠、預制廠、選礦廠及水電工地大量用砂石的脫泥、作業,在國內同類產品處于先進地位。

螺旋洗砂機工作時,恒銳電機通過三角帶、減速機、齒輪減速后帶動葉輪緩慢轉動,砂石有給料槽進入洗槽中,在葉輪的帶動下翻滾,并互相研磨,除去覆蓋砂石表面的雜質,同時破壞包覆砂粒的水汽層,以利于脫水;同時加水,形成強大水流,及時將雜質及比重小的異物帶走,并從溢出口洗槽排出,完成清洗作用。干凈的砂石由葉片帶走,最后砂石從旋轉的葉輪倒入出料槽,完成砂石的清洗作用。

1、瓦片內襯,維修率非常低。
2、采用變頻控制技術,操作更簡潔。
3、0.00--0.75mm石粉含量在2%-15%之間可調。
4、石粉質量易于控制,細度調整方便、靈活、可靠。
5、所洗物料流失少、選洗效率高,可滿足高等級用料的要求。
6、軸承和水、物料分開,避免機器過早因污染生銹而引發的損壞現象。
7、使用壽命比較長,幾乎沒有易損件,一般不需要維修,因此可大大降低成本。
8、用于機制砂干法生產工藝中超標石粉的分離,可以非常方便的控制機制砂石粉的含量,滿足用戶的要求。
| 規格型號 | XS0745 | XS1050 | XS1254 | XS1554 | XS1575 | XS1875 | |
| 螺旋直徑(mm) | 750 | 1000 | 1200 | 1500 | 1500 | 1800 | |
| 長度(mm) | 4500 | 5000 | 5400 | 5400 | 7200 | 7200 | |
| 螺旋轉速(r/min) | 18 | 18 | 16 | 16 | 14 | 12 | |
| 產量(t/h) | 5-20 | 10-30 | 30-50 | 50-80 | 50-80 | 80-150 | |
| 配套電動機(kw) | 7.5 | 11 | 15 | 22 | 30 | 37 | |
| 外型尺寸 | 長(m) | 5-7 | 5-7 | 5-7 | 5-7.5 | 44325 | 44325 |
| 寬(m) | 0.8 | 1.25 | 1.44 | 1.85 | 1.85 | 2.1 | |
| 高(m) | 1.5 | 2.2 | 2.4 | 2.8 | 2.8 | 3.2 | |
如果您對我們的產品感興趣,或者我們有什么可以幫助到您的,您可以隨時撥打我們的客服電話:0371-86565118
